ورود
عضو سایت نیستید؟
ثبت نام
WWW.TOYOTAIRAN.COM
0513-1233
crm [at] toyotairan.com
ENG
جستجو پیشرفته
قطعات اصلی
فروش ویژه
قطعات استوک
لوازم جانبی
گالری تصاویر
راهنما قطعات
اخبار
فروش خودرو
درباره ما
پخش زنده
تماس با ما
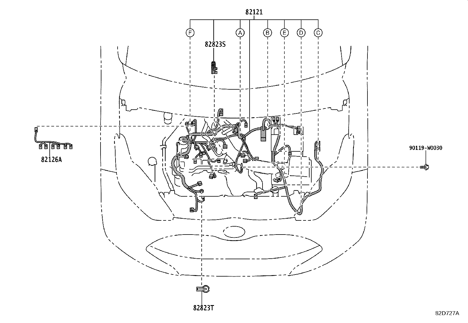
مجموعه دسته سیم های بدنه یاریس
قطعات اصلی
یاریس
ksp211l-bhmgkw
مجموعه دسته سیم های بدنه یاریس
82823S
CAP, STARTER TERMINAL
8282320080
جزئیات
82823T
CAP, ALTERNATOR TERMINAL
8282322050
جزئیات
82126A
WIRE, ENGINE, NO.6
821260H010
جزئیات
82121
جعبه فیوز/
82121K0390
جزئیات
82121K0100
جزئیات
1
2
3
4
5
6
7
8
9
10
11
12
13
14
15
16
17
18
مقصد:
GCC (IRAN)
GENERAL
EUR
USA
CANADA
خودرو:
SELECT
LAND CRUISER
PRADO
RAV4
FORTUNER
FJ CRUISER
HIACE
HILUX
CAMRY
PREVIA
AURION
YARIS
COROLLA
PRIUS
CHR
GT86
LEXUS LX570
LEXUS NX
LEXUS RX350
LEXUS LS
LEXUS CT
LEXUS GS
LEXUS IS
LEXUS ES350
LEXUS ES250
سال:
SELECT
موتور:
SELECT
گیربکس:
SELECT
تیپ:
SELECT
نام قطعه
جستجو
بستن