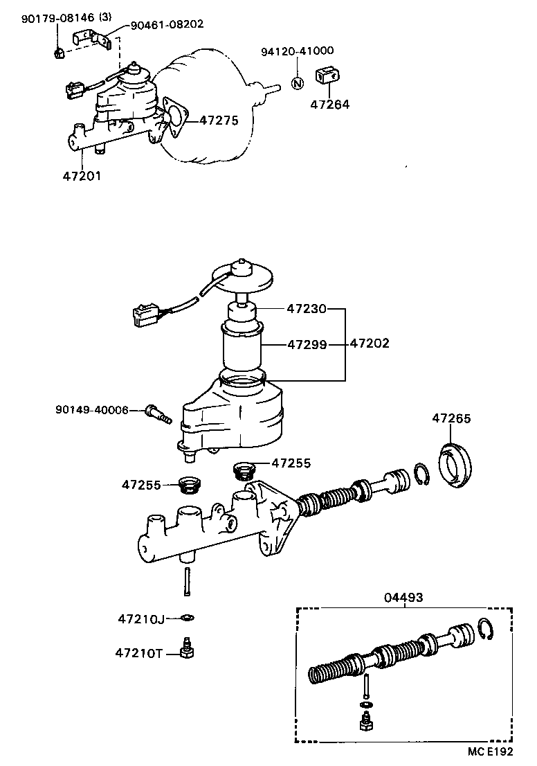
| 47201 | پمپ | ||
| 4720132210 | جزئیات | ||
| 04493 | لوازم پمپ ترمز بالا | ||
| 0449332061 | جزئیات | ||
| 0449332040 | جزئیات | ||
| 47230 | درب مخزن روغن ترمز | ||
| 4723016010 | جزئیات | ||
| 47264 | CLEVIS, MASTER CYLINDER PUSH ROD | ||
| 4726420040 | جزئیات | ||
| 47299 | STRAINER, BRAKE MASTER CYLINDER RESERVOIR | ||
| 4729916010 | جزئیات | ||
| 47255 | لاستیک زیر مخزن پمپ ترمز | ||
| 4725516010 | جزئیات | ||
| 47265 | BOOT, MASTER CYLINDER | ||
| 4726520050 | جزئیات | ||
| 47210T | BOLT(FOR BRAKE MASTER CYLINDER) | ||
| 9010906144 | جزئیات | ||
| 47275 | واشر اتصال بوستر ترمز | ||
| 4727532010 | جزئیات | ||
| 47210J | گردگیر | ||
| 9043006104 | جزئیات | ||
| 47202 | RESERVOIR SUB-ASSY, BRAKE MASTER CYLINDER | ||
| 4722032020 | جزئیات | ||