ورود
عضو سایت نیستید؟
ثبت نام
WWW.TOYOTAIRAN.COM
0513-1233
crm [at] toyotairan.com
ENG
جستجو پیشرفته
قطعات اصلی
فروش ویژه
قطعات استوک
لوازم جانبی
گالری تصاویر
راهنما قطعات
اخبار
فروش خودرو
درباره ما
پخش زنده
تماس با ما
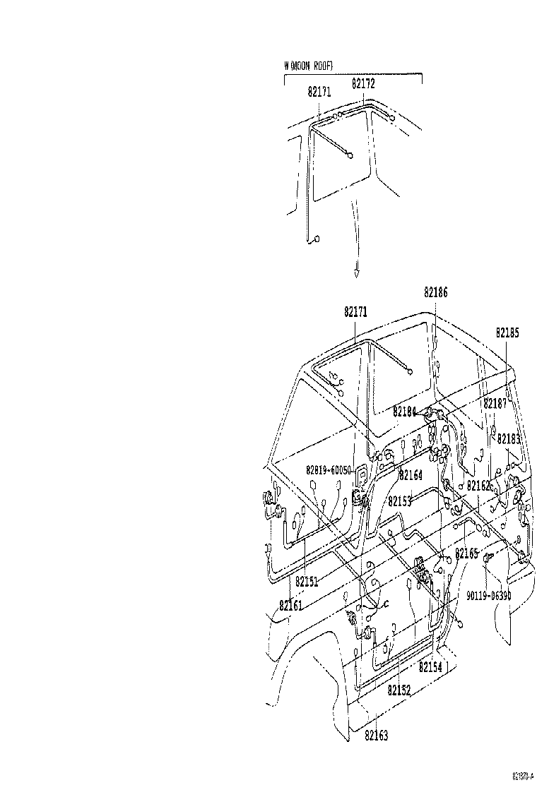
مجموعه دسته سیم های بدنه لندکروزر
قطعات اصلی
لندکروزر
hzj71l-rjmnsw
مجموعه دسته سیم های بدنه لندکروزر
82164
WIRE, FRAME
8216460113
جزئیات
82162
دسته سیم کف
8216260166
جزئیات
82161
دسته سیم کف
8216160255
جزئیات
1
2
3
4
5
6
7
8
9
10
11
12
13
14
15
16
مقصد:
GCC (IRAN)
GENERAL
EUR
USA
CANADA
خودرو:
SELECT
LAND CRUISER
PRADO
RAV4
FORTUNER
FJ CRUISER
HIACE
HILUX
CAMRY
PREVIA
AURION
YARIS
COROLLA
PRIUS
CHR
GT86
LEXUS LX570
LEXUS NX
LEXUS RX350
LEXUS LS
LEXUS CT
LEXUS GS
LEXUS IS
LEXUS ES350
LEXUS ES250
سال:
SELECT
موتور:
SELECT
گیربکس:
SELECT
تیپ:
SELECT
نام قطعه
جستجو
بستن