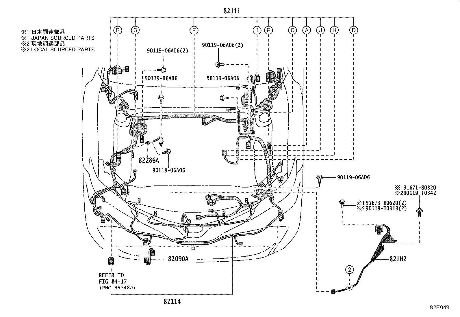
82114سیم اتاق موتور
8211406380 جزئیات
82286AWIRE, EARTH, NO.2
8228633020 جزئیات
82111دسته سیم اتاق موتور
8211606J30 جزئیات
821H2WIRE, HV AIR CONDITIONER
821H206030 جزئیات
82090Aسیم واسطه
8209033030 جزئیات